立即注册找回密码

QQ登录

只需一步,快速开始

微信登录

微信扫一扫,快速登录

搜索
小桔灯网 门户 资讯中心 市场观察 查看内容

当心!柯萨奇病毒B引起的“小感冒”,可致命!

2023-6-25 15:04| 编辑: mango524| 查看: 3090| 评论: 0|来源: 维润赛润资讯

摘要: 感冒生病的人越来越多,而藏在“小感冒”背后的恶魔,有可能是柯萨奇病毒B组引起的暴发性心肌炎。



“别管多小的感冒,都不可掉以轻心!”夏季来临,气温升高,出现呼吸道症状的患者数量也迅速上升。感冒生病的人越来越多,而藏在“小感冒”背后的恶魔,有可能是柯萨奇病毒B组引起的暴发性心肌炎。

来自:郑州大学第二附属医院订阅号、’惠州市第一人民医院订阅号

1、柯萨奇病毒B组简介

柯萨奇病毒B组(Coxsackievirus group B,CVB)是单股正链小RNA病毒,是呼吸道感染的主要病原体之一。CVB传染源为病人及隐性感染者,可经口、呼吸道、肠道传播或胎儿宫内传染,一般流行于夏秋季。根据血清型,CVB可分为B1、B2、B3、B4、B5、B6六种类型,主要侵犯免疫力底下的围生儿,可引起脑膜炎,中枢神经系统感染等多种疾病,亦是引起病毒性心肌炎的主要病原体之一,占病毒性心肌炎诱因的20%-25%,病情严重者可导至死亡。临床早期快速诊断对CVB染的预防和治疗十分重要。


2、相关临床疾病


图1:不同CVBs在人体各个器官的影响。

(红色文字表示比其他血清型(蓝色和绿色)更经常检测到的血清型,黑色文字表示没有这种差异。)


3、诊断方法
目前常规检测手段是病毒分离、血清抗体检测、核酸检测,其中血清学方法包括CLIA、ELISA和胶体金法等。在《成人暴发性心肌炎诊断与治疗中国专家共识发布》的病原学检测中: 病毒性心肌炎常由呼吸道或肠道病毒感染所致,常见的为柯萨奇B组RNA病毒,其IgM 抗体检测可能有助于早期诊断。

4、标准•指南共识

成人暴发性心肌炎诊断与治疗中国专家共识发布

PDF下载:

成人暴发性心肌炎诊断与治疗中国专家共识.pdf



来源:《成人暴发性心肌炎诊断与治疗中国专家共识发布》


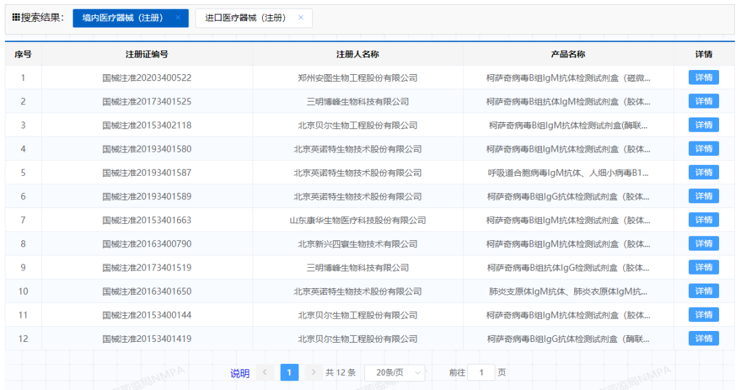
5、NMPA注册情况

截止2023年6月23日,境内的柯萨奇病毒B组抗体检测试剂医疗器械注册证有6家,方法学为CLIA、ELISA、胶体金法,其中胶体金法占75%。抗体检测项目包括柯萨奇病毒IgM 和IgG 检测,其中IgM占75%。进口尚未查询注册的柯萨奇病毒B组抗体检测试剂盒。

注:来源NMPA

6、柯萨奇病毒原料


编辑:Jason | 校对:Harris | 责编:Hillson





 
        

             

公司简介

德国维润赛润(Institut Virion\Serion GmbH)成立于1978年,是国际知名的诊断产业原料生产商和供应商。公司的研发和生产基地位于德国维尔茨堡,已通过DIN EN ISO 13485质量体系认证,拥有三级生物安全实验室(P3实验室)。经过了40余年的发展,公司构建了丰富的生物原料产品线,主要包括天然抗原、重组抗原、人源化单克隆抗体和磁珠等。


声明:
1、凡本网注明“来源:小桔灯网”的所有作品,均为本网合法拥有版权或有权使用的作品,转载需联系授权。
2、凡本网注明“来源:XXX(非小桔灯网)”的作品,均转载自其它媒体,转载目的在于传递更多信息,并不代表本网赞同其观点和对其真实性负责。其版权归原作者所有,如有侵权请联系删除。
3、所有再转载者需自行获得原作者授权并注明来源。

最新评论

关闭

官方推荐 上一条 /3 下一条

客服中心 搜索 洽谈合作
返回顶部