立即注册找回密码

QQ登录

只需一步,快速开始

微信登录

微信扫一扫,快速登录

搜索
小桔灯网 门户 资讯中心 市场观察 查看内容

呼吸道检测分子POCT哪家强?

2025-4-9 10:28| 编辑: 沙糖桔| 查看: 2722| 评论: 0|来源: 狗哥聊IVD

摘要: 刚刚设备拿证的迈瑞分子一体机,瞄准的也是门急诊市场。
自从写了:呼吸道产品大PK!,很多人来问,分子POCT是否一战,哪家会最终突围成功,成为中国的“赛沛”。
如前文所述,口罩后呼吸道检测领域成为当红炸子鸡,但是大多数公司都是采用的qPCR平台。
市场继续卷,都想抢夺门急诊市场,刚刚设备拿证的迈瑞分子一体机,瞄准的也是门急诊市场。
200亿市场争夺战:迈瑞出大招了!
而门急诊最关注什么?
时间!
时间!
还是TMD时间!!!
主流厂家都在拼命的优化自己的流程与程序,比如圣湘、卓诚和伯杰,都号称30分钟方案。
甚至像熔解曲线方法的都在去疯狂改进时间。
而分子POCT产品在此方面具有无与伦比优势,除了上面提到的时间,还有操作的便捷性。



赛沛Cepheid

公司简介:

赛沛的使命是让医疗服务提供者能够及早发现和治疗疾病,提高患者的生存机会和生活质量。

赛沛一家分子诊断公司,致力于研发、生产、销售快速易用的分子诊断系统和试剂盒来改善医疗服务。赛沛将高度复杂和耗时的分析检测从手工操作提升至自动化检测,为不同规模的机构提供深入广泛的解决方案,以对微生物和遗传病进行复杂的基因检测。

通过其强大的分子生物学平台,赛沛专注于各种需要精准、快速检测结果的应用领域,如传染病和癌症。

产品简介:


  • 产品:甲型/乙型流感及呼吸道合胞病毒核酸联合检测试剂盒(实时荧光PCR法)Xpert Xpress Flu/RSV Assay

  • 注册证号:国械注进20193400413

  • 检测数量:3项(甲流/乙流/呼吸道合胞病毒)

  • 技术原理:荧光PCR法

  • 样本类型:鼻咽拭子

  • 检测时间:<30min

  • 注册时间:2019年

  • 试剂有效期:2~28℃储存,有效期为24个月


狗评:
赛沛在分子POCT是绝对的一哥,操作简便性及结果准确性无出其右。
在分子结核检测领域,更是遥遥领先,一直被模仿,从未被超越。
甲乙合的组合在国内顶尖医院非常受欢迎,占有率也非常高,尤其是是北上广深苏杭等富裕地区的三甲医院。
为什么是这些地区,三甲医院,还是因为其高价格,富庶地区才可承受,当然结果也是相对更放心。
然而国际形势突变,34%的关税是否会影响其价格。原产地为美国的呼吸道三联检以及配套设备,将面对国产一堆小弟的价格“围剿”。
类似的事情也发生过,呼吸道三联检与国外供应的版本不一致,要独立生产,造成一段时间断货,被竞品蚕食了些市场。
一切都是未知数,还是希望赛沛这样的解决方案能在中国市场有所发展,中国人也配享受好的检测服务;
再着激励下国产的公司,别天天喊口号,拿出真正好的产品和服务去跟赛沛PK。

卡尤迪
公司简介:
卡尤迪于2009年成立,是一家专注于分子即时诊断(POCT)领域的国家高新技术企业,具备仪器、试剂、系统平台和人工智能大数据等交叉领域联合开发实力。
卡尤迪在分子诊断技术领域持续取得突破性创新,拥有完全自主知识产权,核心原料及元器件全部国产化,并具备国际先进水平的分子POCT技术平台的研发和量产能力。
基于“闪测”全自动分子POCT诊断机器人平台,在传染病、妇儿健康、精准用药等领域,提供更准、更快、更便捷的分子POCT全场景解决方案,让每一个人都受益于分子诊断。

产品简介:


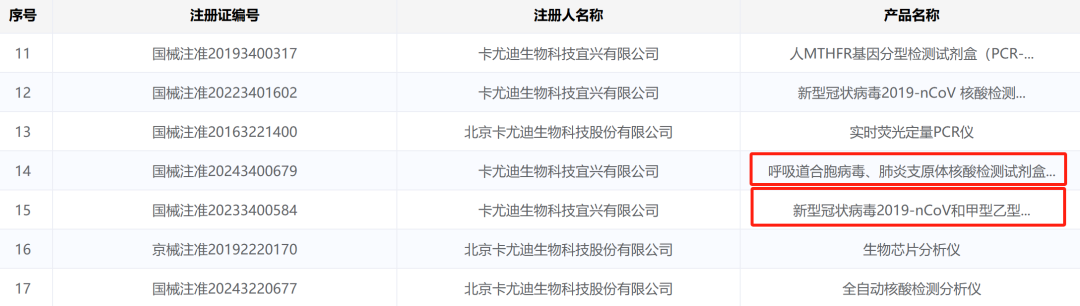
  • 产品:新型冠状病毒2019-nCoV和甲型乙型流感病毒核酸检测试剂盒(荧光PCR法)

  • 注册证号国械注准20233400584

  • 检测数量:3项(新冠/甲流/乙流)

  • 技术原理荧光PCR法

  • 样本类型:咽拭子

  • 检测时间:<30min

  • 注册时间:2023

  • 试剂有效期检测盒于2~28℃避光保存,质控品于2~8℃保存,有效期12个月



狗评:
卡尤迪,在很多专家眼里,是比肩赛沛般的存在,认为最有可能跑出来的公司。
从公司应收上也可见一斑,从路边社了解到,2024年应收近亿元,着实厉害。
你要知道,卡尤迪基本上是甲乙新一个产品在独自承担的卡尤迪的梦想。
比较诟病较多的就是卡尤迪注册比较慢,没啥新品上市。
在2024年上市了一个比较怪异的2联检:RSV/MP,不知是基于什么考量。
在其pipeline中,还是有很多呼吸道产品规划的。
也希望卡尤迪能上市更多产品,进一步扩大领先优势。

京东方 知微生物
公司简介:
知微生物是一家POCT分子诊断解决方案提供商,已成功构建集微流控芯片、诊断试剂、检测设备于一体的全链条自主研发及生产体系,致力于打造病原体检测、耐药基因检测、妇幼健康等创新性POCT分子诊断平台,以科技创新赋能国家精准医疗体系和分级诊疗体系建设。
产品简介:


  • 产品1:新型冠状病毒(2019-nCoV)及甲/乙型流感病毒核酸联合检测试剂盒(荧光PCR法)

  • 产品2:四项呼吸道病原体核酸检测试剂盒(荧光PCR法)
  • 产品3五项呼吸道病原体核酸检测试剂盒(荧光PCR法)
  • 检测数量:3项(新冠/甲流/乙流);4项(呼吸道合胞病毒、副流感病毒、腺病毒、肺炎支原体);5项(甲型流感病毒、乙型流感病毒、呼吸道合胞病毒、腺病毒、肺炎支原体)

  • 技术原理荧光PCR法

  • 样本类型咽拭子

  • 检测时间:<30min

  • 注册证号国械注准20233400274/国械注准20243402636/国械注准20243402481

  • 注册时间:2023/2024/2024

  • 试剂有效期2℃~30℃避光干燥保存,有效期12个月



狗评:
知微生物背靠大树,京东方,财力雄厚,花大价钱在产品研发注册上。
2024年底,接连获得呼吸道4联检、5联检注册证,还有结核等相关产品。
在产品矩阵及应用组合上,给客户了更多的选择空间。流感季、非流感季以及呼吸道感染高发季,都有相应的产品。
知微在产品研发上的投入一向“大气”,比如在2024年6月获得亿元融资,没有见营销团队有所扩大,估计都用在了研发上,“只要产品好,都会来用的”。
只是好奇的一点是2024年融资时,为什么估值那么低,低到了令人发指的地步。
即便考虑到近两三年资本遇冷,IPO受挫的宏观因素,还是无法理解。
难道背后……

优思达
公司简介:
杭州优思达成立于2005年,一直专注于创新的即时分子诊断(POCT)技术及产品的研发、生产和销售。公司已建立具有完全自主知识产权的技术平台,申请数十项国际国内发明专利;持续参与传染病防治国家科技重大专项,荣获“国家科技进步二等奖”、“浙江省科技进步一等奖”等重要奖项数十项。
产品简介:

  • 产品1:甲型/乙型流感病毒核酸检测试剂盒(恒温扩增-实时荧光法)

  • 产品2肺炎支原体(MP)核酸检测试剂盒(恒温扩增-实时荧光法)

  • 产品3呼吸道合胞病毒核酸检测试剂盒(恒温扩增-实时荧光法)

  • 检测数量:2项/单重

  • 技术原理:恒温扩增-实时荧光法

  • 样本类型咽拭子

  • 检测时间:25min

  • 注册证号:国械注准20233401962/国械注准20233401997/国械注准20243400602

  • 注册时间:2023/2023/2024

  • 试剂有效期2℃~8℃保存,有效期为12个月


狗评:
优思达最先在市场上发力的产品是结核产品,抢了些和开拓了些客户。
在口罩期间,致力于发热门急诊的开拓,也收到了不小的回报。
目前优思达获证的产品也有几个了,甲乙流、百日咳、肺支、呼吸道合胞病毒等等。
不过目前看已获证产品大多是2联检和单重检测,不知是对市场的规划,认为单检才是未来,还是当时注册时多重技术不成熟所致。
看优思达在pipeline中还有上呼吸道十联检,下呼吸道十联检,野心那是相当的大。
优思达在去年的业绩表现也是相当的好,可能也是得益于海外市场的爆发。
也给其他企业提供了思路,国内市场也是真的卷,卷的费劲,可以去卷外国人。

自从进入2025年开始,多家分子POCT厂家获得了飞速的发展,被越来越多的客户所认可。
3月14日,在重庆召开CCDLM 2025上《病原体核酸快速检测临床规范化应用专家共识》研讨会召开,对于目前大热的病原体核酸快检的临床规范化进行了深入讨论。
随着后续共识的发布,病原体快检市场将进一步被打开,尤其是分子POCT。
分子POCT的未来如星辰大海般璀璨,您看好哪家的发展,欢迎留言讨论。

声明:
1、凡本网注明“来源:小桔灯网”的所有作品,均为本网合法拥有版权或有权使用的作品,转载需联系授权。
2、凡本网注明“来源:XXX(非小桔灯网)”的作品,均转载自其它媒体,转载目的在于传递更多信息,并不代表本网赞同其观点和对其真实性负责。其版权归原作者所有,如有侵权请联系删除。
3、所有再转载者需自行获得原作者授权并注明来源。

最新评论

关闭

官方推荐 上一条 /3 下一条

客服中心 搜索 官方QQ群 洽谈合作
返回顶部