立即注册找回密码

QQ登录

只需一步,快速开始

微信登录

微信扫一扫,快速登录

搜索
小桔灯网 门户 资讯中心 医界动态 查看内容

达安基因起诉6家平安好医检验所!拖欠货款

2024-6-20 15:21| 编辑: 鹏哥| 查看: 1671| 评论: 0|来源:  IVD从业者网

摘要: 从公开记录查询,目前深圳平安好医检验控股所涉及的诉讼案件为达安基因对六家子公司的起诉。

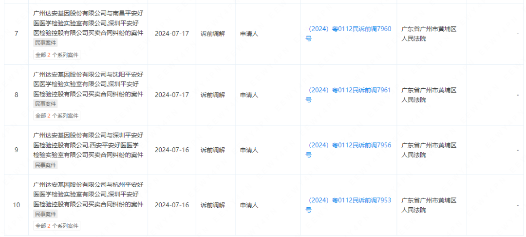
今日,据企查查数据显示,达安基因与深圳平安好医检验控股旗下多家子公司对簿公堂,其中包括广州平安好医、合肥平安好医、杭州平安好医、沈阳平安好医、南昌平安好医、西安平安好医等六家检验所子公司。

案由为:买卖合同纠纷

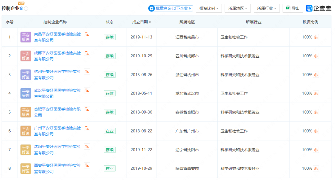
从股权穿透来看,深圳平安好医检验控股为上市公司中国平安保险旗下专注于做检验医学服务的平台,成立于2018年,目前有8家子公司检验所。

从公开记录查询,目前深圳平安好医检验控股所涉及的诉讼案件为达安基因对六家子公司的起诉。

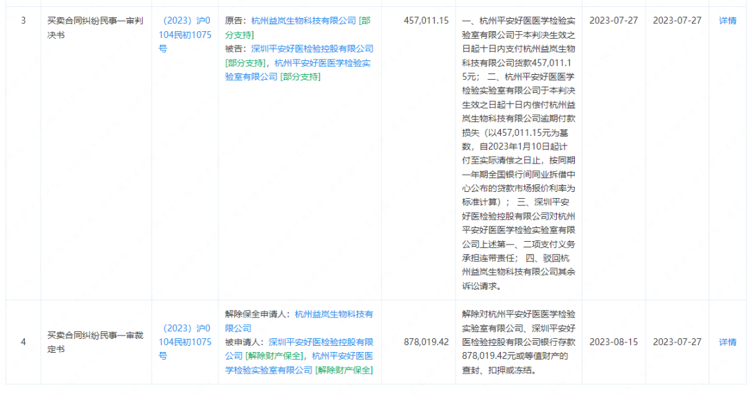
2023年7月,杭州平安好医检验所就已经出现了与杭州益岚生物科技有限公司的货款诉讼,涉及457,011.15元。

从达安基因的诉讼案件来看,除了与检验所之间的买卖合同纠纷之外,还涉及一些民营医院,例如辽宁中置盛京老年病医院、义乌復元医院等。

追讨货款,处理新冠筛查后遗症是新冠核酸检测企业这两年的命题作文,大量的区域检验所因为样本量的急速下降,而导至经营困难,现金流出现问题。去年已经陆陆续续倒掉了一批,如今连平安好医这样的连锁检验所也出现了同样的问题。

今年5月,江苏硕世生物与广西和合医学检验实验室有限公司、吉林和合医学检验有限公司、黑龙江和合医学检验实验室有限公司、沈阳和合医学检验所有限公司、昆明和合医学检验所有限公司、合肥和合医学检验所有限公司、石家庄和合医学检验实验室有限公司、苏州和合医学检验有限公司、长沙和合医学检验实验室有限公司等9家检验所因为买卖合同纠纷对簿公堂的案例,也印证了当下的检验服务行业所面临的困局。

前有猛虎,后又追兵

2023-2024是第三方检验所最难熬的两年,新冠筛查业务的快速萎缩,要求检验所必须精简机构,优化成本,寻找新的增长点来维持公司的运营。于是我们可以看到去年谁裁员最多?妥妥的新冠检测企业和检验所,这是行业大趋势,唯有及时调整,才能适应新的环境。

2024年各省陆续发布,禁止临床样本直接外送,所有的外送服务必须要与医院,与检验科签订外送协议。这让第三方检验所更是雪上加霜,原来是八仙过海各显神通,现在是千军万马过独木桥。

临床直接外送,比的是临床的客情关系,如果签订协议比的就是入院能力,对销售队伍的要求变了,很多检验所可能就会维持不下去。

有什么办法么?

对于区域检验所而言,目前活下去是目标,节省成本,打造优势项目,提升入院能力是方法。对于区域检验所而言,唯有走差异化的路子,靠好的项目,优质的项目才能杀出一条血路,不然市场就会被金域,迪安这些巨头凭借低成本和项目全而一统天下。

声明:
1、凡本网注明“来源:小桔灯网”的所有作品,均为本网合法拥有版权或有权使用的作品,转载需联系授权。
2、凡本网注明“来源:XXX(非小桔灯网)”的作品,均转载自其它媒体,转载目的在于传递更多信息,并不代表本网赞同其观点和对其真实性负责。其版权归原作者所有,如有侵权请联系删除。
3、所有再转载者需自行获得原作者授权并注明来源。

最新评论

关闭

官方推荐 上一条 /3 下一条

客服中心 搜索 洽谈合作
返回顶部