1月18日,国家卫健委印发《宫颈癌筛查工作方案》,明确提出:可使用高危型 HPV 检测方法作为初筛方案之一,HPV 检测所采用的技术平台及其产品至少要包含世 界卫生组织明确确认的 14 种高危型别,包括: HPV16、18、 31、33、35、39、45、51、52、56、58、59、66、68 等亚型。 原则上每 5 年筛查一次。

一、工作目标 (一) 总目标。坚持预防为主、防治结合、综合施策, 以农村妇女、城镇低保妇女为重点,为适龄妇女提供宫颈癌 筛查服务,促进宫颈癌早诊早治,提高妇女健康水平。
(二) 具体目标。 到 2025 年底,实现以下目标: 1.逐步提高宫颈癌筛查覆盖率,适龄妇女宫颈癌筛查率 达到 50%以上。 2.普及宫颈癌防治知识,提高妇女宫颈癌防治意识。适 龄妇女宫颈癌防治核心知识知晓率达到 80%以上。 3.创新宫颈癌筛查模式,提高筛查质量和效率,宫颈癌 筛查早诊率达到 90%以上。 绩效考核指标及其计算方法见附件 1。
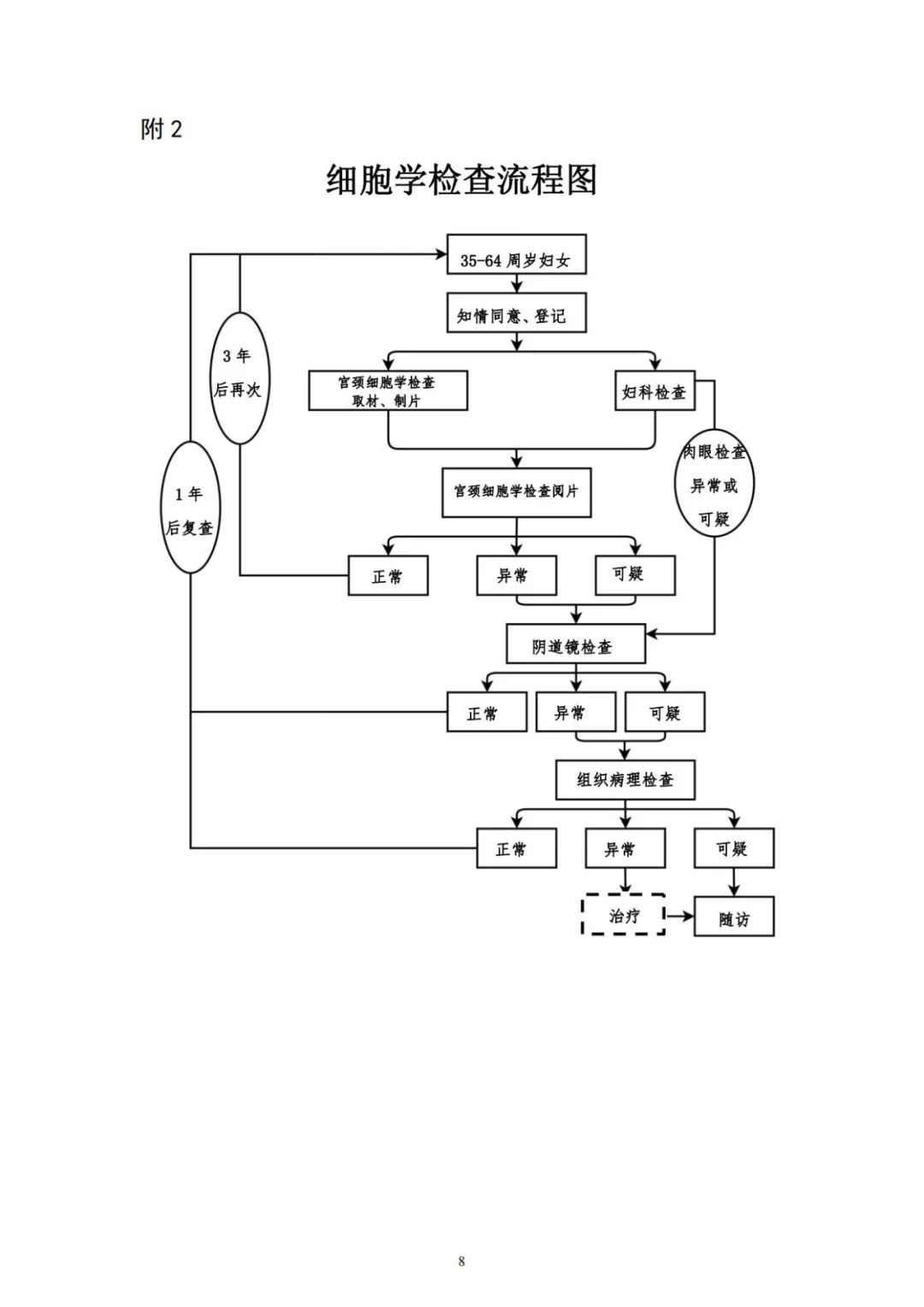
二、服务对象 35-64 周岁妇女,优先保障农村妇女、城镇低保妇女。
三、工作内容 (一) 宫颈癌筛查。 各地应当对辖区内适龄妇女进行摸底调查,结合实际制定年度筛查计划。积极动员目标人群到相关医疗机构接受宫颈癌筛查。 1.妇科检查。包括询问病史、外阴及阴道检查、盆腔检 查及阴道分泌物检查。(1) 宫颈细胞学检查。包括取材、制片及阅片,采用 子宫颈/阴道细胞学 TBS(The Bethesda System) 报告系统 对宫颈细胞进行评价。原则上每 3 年筛查一次。(2) 高危型 HPV 检测。包括取材、保存、实验室检测 及报告。HPV 检测所采用的技术平台及其产品至少要包含世 界卫生组织明确确认的 14 种高危型别,包括: HPV16、18、 31、33、35、39、45、51、52、56、58、59、66、68 等亚型。 原则上每 5 年筛查一次。3.阴道镜检查。对宫颈细胞学检查初筛结果异常或可疑 者、HPV 高危分型检测结果为 16/18 型阳性者、其他高危型 阳性且细胞学结果异常或可疑者以及肉眼检查异常者进行 阴道镜检查。4.组织病理学检查。对阴道镜检查结果异常或可疑者进 行组织病理学检查。宫颈癌筛查异常或可疑病例主要包括宫颈细胞学检查 TBS 报告结果为未明确意义的不典型鳞状上皮细胞(以下简称 ASC-US) 及以上者、高危型 HPV 检测结果阳性者、肉眼检 查异常或可疑者,阴道镜检查异常或可疑者以及组织病理学 检查结果为宫颈高级别病变及以上者。对宫颈癌筛查异常或 可疑病例进行追踪随访,督促其尽早接受进一步诊断及治 疗,并及时记录病例相关情况。充分利用电视、网络等媒体,广泛开展妇女宫颈癌防治 相关政策和核心信息的宣传教育,形成全社会关心支持宫颈癌防治的良好氛围。充分发挥基层医疗机构和妇联等部门宣 传教育、组织发动及追踪随访的作用,深入开展社会宣传和 健康教育,增强妇女是自身健康第一责任人意识。科学指导 广大妇女开展自我健康管理,组织动员适龄妇女接受宫颈癌 筛查,指导宫颈癌高风险人群主动到医疗机构接受筛查。及时掌握辖区 35-64 周岁适龄妇女人数,有计划、有组 织地安排其定期接受筛查。遴选具有筛查设施设备和专业技 术人员的医疗机构承担宫颈癌筛查工作。加强组织管理,优 化服务模式,方便妇女接受筛查服务,不断提高筛查效率和 质量。各地要进一步健全宫颈癌综合防治网络,完善工作规范 和服务流程,加强区域间、机构间转诊和协作。鼓励建立多种形式的宫颈癌防治联合体。提高各级特别是县级医疗机构 在宫颈癌防治宣传教育、咨询指导、筛查及治疗等方面的能 力。健全宫颈癌筛查专家队伍,加强对管理和专业技术人员的培训。积极运用互联网、人工智能等技术,提高基层宫颈癌防治能力。各级卫生健康行政部门要制定宫颈癌筛查质量控制方 案及年度工作计划。定期对参与宫颈癌筛查工作的医疗机构 及外送检测机构开展全流程质量控制,及时反馈质控结果, 指导改进服务质量。相关机构要完善自我检查和整改机制, 定期开展自查,保证服务质量。宫颈癌筛查质量控制具体要 求详见《宫颈癌筛查质量评估手册》。各地要落实主体责任,推动将宫颈癌筛查纳入政府民生 工程,统筹协调多方资源,加强经费保障,不断扩大宫颈癌 筛查覆盖面,合理提高筛查经费补助标准,积极推动宫颈癌 筛查、宣传动员、随访管理、人员培训等各项工作。强化资 金监管,规范经费使用,保障宫颈癌筛查工作顺利实施。妥善保存宫颈癌筛查原始资料,推动建立个案信息管理 系统,避免重复筛查。收集多种来源的宫颈癌筛查和治疗信 息数据,实现信息数据的互联共享。应有专人负责信息管理 工作,及时收集、汇总、整理、报送相关数据信息。宫颈癌筛查信息管理具体要求详见《两癌筛查信息管理手册》。各级卫生健康行政部门定期开展考核评估,确保宫颈癌 筛查工作落实。考核内容包括: 具体目标完成情况、组织管 理、筛查流程及服务质量、异常病例随访管理、质量控制、 信息上报等。考核评估对象包括: 宫颈癌筛查技术指导部门、 初筛机构、转诊机构(含外送检测机构) 等。(一) 卫生健康行政部门。国家卫生健康委妇幼司负责 全国宫颈癌筛查工作的组织管理,制发工作方案和筛查质量 评估手册。省级、地市级卫生健康行政部门负责本辖区宫颈 癌筛查工作的组织、实施和监督管理,完善工作机制,开展 质量控制。县级卫生健康行政部门负责辖区内宫颈癌筛查工 作的具体组织实施,明确初筛机构和转诊机构,开展质量控 制。各级卫生健康行政部门成立宫颈癌筛查专家组,组织开 展业务指导、人员培训、健康教育、质量控制和评估等工作。(二) 承担宫颈癌筛查技术指导工作的妇幼保健机构。 受卫生健康行政部门委托,对辖区宫颈癌筛查工作进行业务 管理和技术指导。掌握辖区妇女宫颈癌防治服务现状; 为辖 区宫颈癌初筛机构、转诊机构提供技术指导; 开展宫颈癌筛 查服务相关业务培训; 对辖区宫颈癌筛查相关信息进行收 集、汇总及分析上报; 配合卫生健康行政部门开展宫颈癌筛 查质控工作; 推广宫颈癌防治适宜技术等。承担宫颈癌筛查服务的医疗机构应当配备与开展筛查 服务相适应的场所、设施、设备和专业技术人员,建立健全 内部管理制度,明确筛查服务流程,不断提高筛查质量和效率。1.初筛机构。主要负责采集病史、妇科检查、初筛取材等,针对筛查结果异常或可疑的妇女督促其接受进一步检查 和治疗,做好追踪随访,并将相关信息及时上报。在转诊时 应当提供转诊对象的基本信息及相关检查资料,填写转诊单。初筛机构获得转诊机构反馈的结果后,应当在 5 个工作 日内通知异常或可疑病例进一步检查或治疗。2.转诊机构。负责接收初筛机构转诊的标本及异常或可 疑病例,提供宫颈细胞学阅片、HPV 检测、阴道镜检查及组 织病理学检查等相关服务。转诊机构应当在出结果后 5 个工 作日内反馈初筛机构。


|