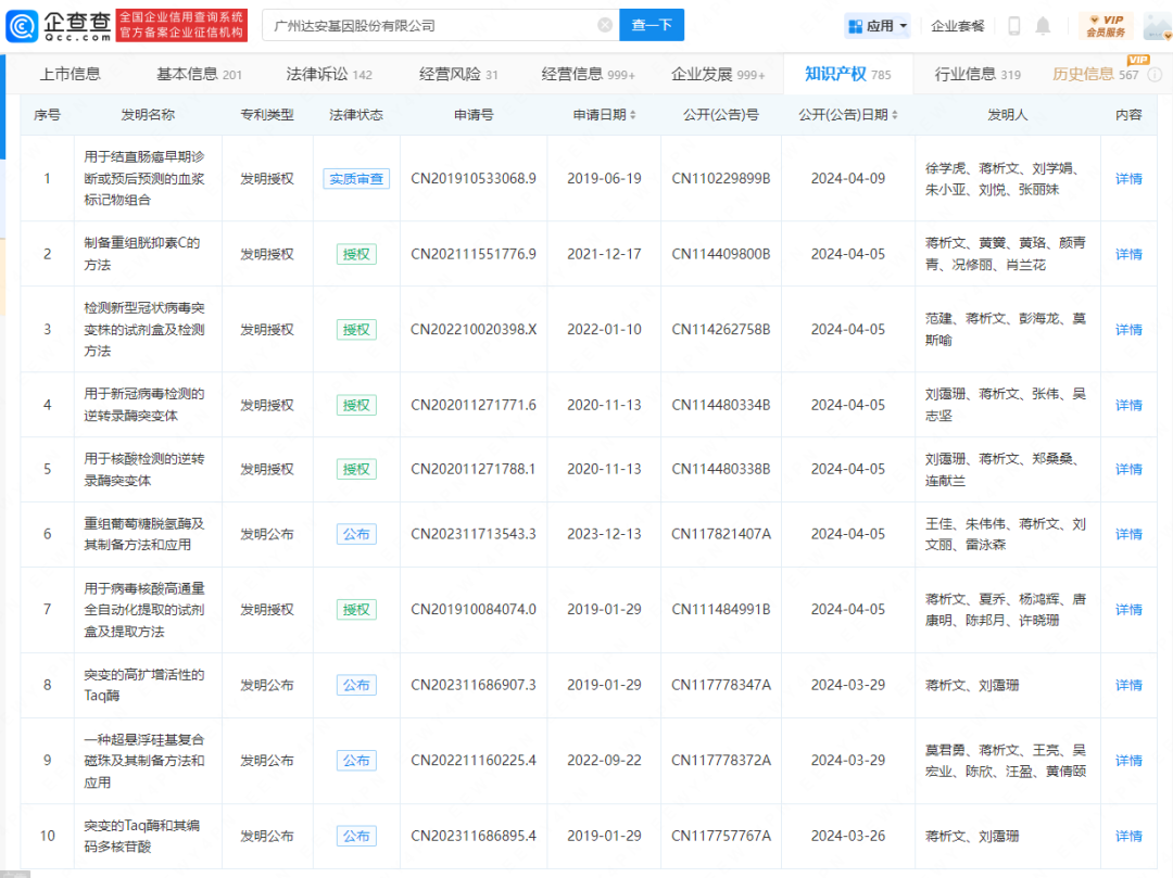
说到分子诊断,有两家企业值得深入研究和分析,一家是达安基因,一家是圣湘生物。达安基因在国内做分子诊断比较早,不仅在分子诊断领域的产品比较齐全,也逐渐向生化免疫、微生物等方向做扩展,其销售渠道和特殊背景的原因,让达安成为分子诊断赛道上的领导者。而圣湘生物作为后起之秀,凭借精湛的技术和对客户需求的深度洞察,抓住了一个又一个的风口,不仅在国内的分子诊断市场挥斥方遒,也将中国的分子诊断方案带向了全球,走向了世界。这两家公司的发展路径并不相同,但在却在顶端相聚,成了中国分子诊断界的“临床PCR双子星”! 从达安基因最近一年获批的技术专利来看,主要聚焦在酶、磁珠、提取、核苷酸、蛋白等试剂原料方面的技术创新和突破,可见技术创新的尽头是做出好的原料,做出好的产品。 据企查查数据显示,达安基因的专利信息达到418条,在一众IVD企业遥遥领先。
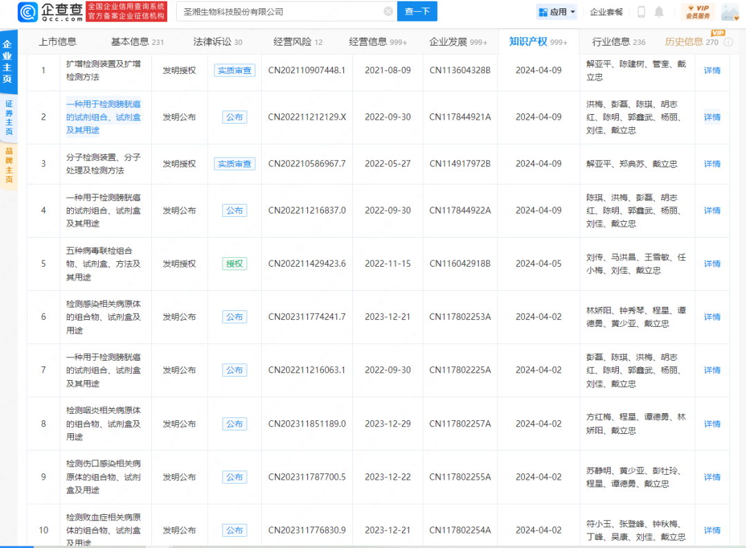
圣湘生物—洞悉客户需求,打造爆款产品 圣湘生物是我熟悉的几个IVD企业中响应市场变化最快的企业,我说的响应快,是能够真的根据市场需求做出产品,这是不容易的事。从其获得的专利上,也能看出来圣湘对于分子诊断市场的理解是非常独到的。从专利数量上来看,圣湘有355项相关的专利信息,仅次于达安基因。 简单举几个例子,对于检测装置的技术创新从未停止,这些来自设备和装置的技术创新,让圣湘在去年和今年陆续推出了一些新的产品,例如此前呼吸道的直扩超声滴管OTA做病毒裂解。扩增检测装置及扩增检测方法 开关盖装置及核酸提取仪 反应装置及其控制方法 一种核酸提取设备 核酸提取装置及提取方法 ...............
我比较感兴趣的是圣湘对于试剂盒设计的相关专利,从目前获批的来看,圣湘在试剂盒的技术创新主要在多联检和一些热门靶标上的方向。
看了达安基因和圣湘生物的技术创新方向,给人最直观的感受就是,达安基因像一个“科学家”,在底层技术和关键技术上找突破,精益求精;圣湘生物像一个“产品经理”,市场需要什么我就造什么,主打一个刚需。 一家企业能不能持续发展下去,技术创新能力是其中重要的一环,持续投入研发并有产出的,有深厚技术储备的企业,能够在复杂多变的市场竞争中播出一片新天地。达安和圣湘的两种技术创新模式都非常具有代表性,任何一个方向做到极致,都是王道。
|