立即注册找回密码

QQ登录

只需一步,快速开始

微信登录

微信扫一扫,快速登录

搜索
小桔灯网 门户 资讯中心 市场观察 查看内容

后疫情时代,这些新的项目值得关注

2022-9-2 10:50| 编辑: 沙糖桔| 查看: 2191| 评论: 1|来源: 竞逐IVD原料江湖 |作者:古井秋筠

摘要: 兵强马壮的众IVD玩家,都在为后疫情时代的可持续发展谋篇布局。

       新冠疫情虽尚未结束,但核酸、抗原检测试剂的市场行情正快速冷却,甚至是“断崖式”消退。兵强马壮的众IVD玩家,包括试剂厂家和上游原料厂家,都在为后疫情时代的可持续发展谋篇布局。为了寻找新的业务增长点,避免陷入“红海”市场的内卷式竞争,新的有潜力的检验项目必然会成为实力玩家们重点关注的对象,且很多玩家已经在抢占先机的路上了。本文在此盘点一下热门的新标志物,这里的“新”并非指处于学术前沿但距离临床应用尚远;而是指目前开展的玩家不算多,但市场关注度高,未来有大潜力会被广泛应用而成为重磅项目。


① 阿尔茨海默病(Alzheimer's Disease, AD)

AD标志物自从罗氏获批上市后,受到广泛关注,国内厂家的开发意愿更是高涨,毕竟有巨头在前引领,广阔的市场空间在向大家招手。目前人β淀粉样蛋白(Aβ1-42)有三家获证、Phospho-Tau (181P)有四家获证。



② 肿瘤标志物

肝癌标志物异常凝血酶原(PIVKA-II),同样有外资巨头罗氏、雅培珠玉在前,国内厂家必会跟进。目前仅三家获证。

值得一提的是,热景在该领域的底蕴颇深,除了PIVKA-II,还有甲胎蛋白异质体(AFP-L3)高尔基体蛋白73(GP73)组织金属蛋白酶抑制因子-1(TIMP-1)等三个获证的独家品种。


肝纤维化标志物壳多糖酶3样蛋白1(CHI3L1)也是很多厂家想做的项目,尽管有专利侵权的潜在不确定性,当前获证厂家已达五家。


另外,可监测细胞异常增殖的标志物胸苷激酶-1(TK1),目前有九家获证;血管内皮生长因子(VEGF),目前有十一家获证。


③ 先兆子痫

AMH引发的市场热度还历历在目,同样由罗氏引领的先兆子痫标志物:可溶性fms样酪氨酸激酶-1(sFlt-1)胎盘生长因子PLGF自然足以点燃国内厂家新的热情。目前sFlt-1有五家获证,PLGF更多一些,已达十家。


④ 骨代谢

I型胶原氨基端延长肽(P1NP)目前有七家获证;甲状旁腺激素(PTH)超过二十家。


⑤ 间质性肺炎

涎液化糖链抗原-6(KL-6)这个项目从试剂到原料最早都是日本公司在推动,相信未来国内上下游玩家会越来越多。目前已有九家获证。


⑥ 类风湿

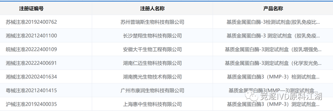
基质金属蛋白酶3(MMP3),目前有七家获证。


⑦ 心肌标志物

心标市场向来是兵家必争之地,为抢占份额,各厂家对新的心肌标志物极为重视,这一点从可溶性生长刺激表达基因2蛋白(sST2)就可以看出,多个国内厂家花费重金向美国CCD公司购买专利许可,目前已有超过三十家获证。

最近,生长分化因子15(GDF15)由乐合生物获得国内第一张注册证,这个项目有罗氏当带头大哥,未来热度和天花板相比sST2只高不低,大家赶紧撸起袖子加油干吧。


⑧ 自身免疫

自身免疫和过敏原是这两年众多厂商关注的重点,该系列项目纷繁,入局的厂家已为数不少。其中有些特色项目当前获证的厂家还不算多,相信未来会快速扩充,比如膜性肾病标志物抗磷脂酶A2受体(PLA2R)抗体七家获证、抗凝脂综合征标志物抗凝脂酰丝氨酸/凝血酶原(aPS/PT)抗体仅两家获证。



⑨ 血栓新四项

血栓新四项:凝血酶-抗凝血酶III复合物(TAT)纤溶酶-抗纤溶酶复合物(PIC)血栓调节蛋白(TM)组织型纤溶酶原激活物-纤溶酶原激活物抑制剂-1(tPAI·C)的火热程度已无需多言,目前已有如下六家获证,接下来获证厂家数量会快速增加,大家拭目以待。


⑩ 游离轻链

多发性骨髓瘤标志物游离轻链kappa和lambda,感兴趣的厂家非常多,但目前仅一家获证,足见该项目的开发难度并不小,但市场需求是非常明确的,据了解正在开发的厂家不少,越早获证越有利于抢占市场份额。


       大争之世,如逆水行舟,不进则退!求新求变,是不变的主题。





声明:
1、凡本网注明“来源:小桔灯网”的所有作品,均为本网合法拥有版权或有权使用的作品,转载需联系授权。
2、凡本网注明“来源:XXX(非小桔灯网)”的作品,均转载自其它媒体,转载目的在于传递更多信息,并不代表本网赞同其观点和对其真实性负责。其版权归原作者所有,如有侵权请联系删除。
3、所有再转载者需自行获得原作者授权并注明来源。

刚表态过的朋友 (0 人)

发表评论

最新评论

引用 ll8848 2022-9-3 10:02
真是学习了,感谢分享

查看全部评论(1)

关闭

官方推荐 上一条 /3 下一条

客服中心 搜索 洽谈合作
返回顶部